![]() |
||||||||||||||||||
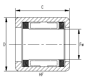
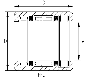
| CYJ-- Needle Roller Clutch with Pressed Outer Ring (unilateral bearing) can be treated as converter, non-return device, free wheel device. HF (Needle Roller Clutch): it is made of pressed outer ring and plastic holder; the holder can be installed with plastic reed or the stainless steel reed to guide the needle rollers, bevel race way and needle rollers can be treated as locking device. HFL(Clutch and Bearing Unit): pedestal bearing is installed at the two sides of the needle roller clutch and bears the radial load, the needle roller and the plastic holder units can be treated as the pedestal bearing. Main Structure Style£º
|
||||||||||||||||||
|
| Shaft Diameter | Clutch Designation | Mass Approx | Borndary Dimensions |
Torgue Ma | Limiting Speed | Suitable Drawn Cup Bearings | ||||
| Plastic Springs | Steel Springs | Fw | D | C | Rotating Shaft Min-1 | Rotatng Outer Ring Min-1 | ||||
| mm | g | mm | Nm | rpm | ||||||
| HFSeries ( INA/According to natrium company ) | ||||||||||
| 3 | HF0306KF | 0.9 | 3 | 6.5 | 6 | 0.2 | 36000 | 7000 | HK0306TN | |
| 4 | HF0406KF | -- | 1 | 4 | 8 | 6 | 0.34 | 34000 | 8000 | HK0408TN |
| HF0406KFR | -- | 1 | 4 | 8 | 6 | 0.1 | 34000 | 8000 | HK0408TN | |
| 6 | HF0608KF | 2.8 | 6 | 10 | 8 | 1.5 | 20000 | 11000 | HK0608 | |
| HF0612KF | HF0612 | 3 | 6 | 10 | 12 | 1.76 | 23000 | 13000 | HK0608 | |
| HF0612KFR | HF0612R | 3 | 6 | 10 | 12 | 1.76 | 23000 | 13000 | HK0608 | |
| HF061210 | 3.5 | 6 | 12 | 10 | 3 | 20000 | 13000 | HK061208 | ||
| 8 | HF0812KF | HF0812 | 3.5 | 8 | 12 | 12 | 3.15 | 17000 | 12000 | HK0808 |
| HF0812KFR | HF0812R | 3.5 | 8 | 12 | 12 | 4 | 17000 | 12000 | HK0808 | |
| -- | HF061210 | 3.2 | 8 | 12 | 10 | 3 | 16000 | 12000 | HK0808 | |
| -- | HF081410 | 3.6 | 8 | 14 | 10 | 4.6 | 15000 | 11000 | HK081410 | |
| -- | HF081610 | 4.1 | 8 | 16 | 10 | 5.5 | 15000 | 11000 | HK081610 | |
| -- | HF081412 | 4 | 8 | 14 | 12 | 5 | 16000 | 12000 | HK081410 | |
| 10 | HF1012KF | HF1012 | 4 | 10 | 14 | 12 | 5.3 | 14000 | 11000 | HK1010 |
| HF1012KFR | HF1012R | 4 | 10 | 14 | 12 | 1.5 | 14000 | 11000 | HK1010 | |
| 12 | -- | HF1216 | 11 | 12 | 18 | 16 | 12.2 | 11000 | 8000 | HK1212 |
| 14 | -- | HF1416 | 13 | 14 | 20 | 16 | 17.3 | 9500 | 8000 | HK1412 |
| 16 | -- | HF1616 | 14 | 16 | 22 | 16 | 20.5 | 8500 | 7500 | HK1612 |
| 18 | -- | HF1816 | 16 | 18 | 24 | 16 | 24.1 | 7500 | 7500 | HK1812 |
| 20 | -- | HF2016 | 17 | 20 | 26 | 16 | 28.5 | 7000 | 6500 | HK2010 |
| 25 | -- | HF2520 | 30 | 25 | 32 | 20 | 66 | 5500 | 5500 | HK2512 |
| 30 | -- | HF3020 | 36 | 30 | 37 | 20 | 90 | 4500 | 4500 | HK3012 |
| 35 | -- | HF3520 | 40 | 35 | 42 | 20 | 121 | 3900 | 3900 | HK3512 |
| Shaft Diameter | Clutch Designation | Mass Approx | Borndary Dimensions | Torgue Ma | Limiting Speed | Basic Load Ratings | |||||
| Plastic Springs | Steel Springs | Fw | D | C | Rotating Shaft Min-1 | Rotatng Outer Ring Min-1 | C | Co | |||
| KN | |||||||||||
| mm | g | mm | Nm | rpm | |||||||
HFL ( INA ) |
|||||||||||
| 3 | HFL0308 | -- | 3 | 3 | 3.6 | 8 | 1 | -- | -- | -- | -- |
| 4 | HFL0408 | -- | 3.5 | 4 | 8 | 8 | 1.5 | -- | -- | -- | -- |
| 6 | HFL0615KF | HFK0615 | 4 | 6 | 10 | 15 | 1.76 | 23000 | 13000 | -- | -- |
| HFL0615KFR | HFL0615R | 4 | 6 | 10 | 15 | 0.5 | 23000 | 13000 | -- | -- | |
| -- | HFL061012K | 5 | 6 | 10 | 12 | -- | 21000 | 12000 | -- | -- | |
| 8 | -- | HFL081212K | 6 | 8 | 12 | 12 | -- | 20000 | 12000 | -- | -- |
| -- | HFL081412K | 7 | 8 | 14 | 12 | -- | 19000 | 12000 | -- | -- | |
| HFL0822KF | HFL0822 | 7 | 8 | 12 | 22 | 3.15 | 17000 | 12000 | 4.05 | 4.15 | |
| HFL0822KFR | HFL0822R | 7 | 8 | 12 | 22 | 1 | 17000 | 12000 | -- | -- | |
| 10 | HFL1022KF | HFL1022 | 8 | 10 | 14 | 22 | 5.3 | 14000 | 11000 | 4.3 | 4.65 |
| HFL1022KFR | HFL1022R | 8 | 10 | 14 | 22 | 1.5 | 14000 | 11000 | -- | -- | |
| 12 | -- | HFL1226 | 18 | 12 | 18 | 26 | 12.2 | 11000 | 8000 | 6.3 | 6.5 |
| 14 | -- | HFL1426 | 20 | 14 | 20 | 26 | 17.3 | 9500 | 8000 | 7.1 | 7.7 |
| 16 | -- | HFL1626 | 22 | 16 | 22 | 26 | 20.5 | 8500 | 7500 | 7.7 | 9 |
| 18 | -- | HFL1826 | 25 | 18 | 24 | 26 | 24.1 | 7500 | 7500 | 8.3 | 10.3 |
| 20 | -- | HFL2026 | 27 | 20 | 26 | 26 | 28.5 | 7000 | 6500 | 8.9 | 11.5 |
| 25 | -- | HFL2530 | 44 | 25 | 32 | 30 | 66 | 5500 | 5500 | 10.9 | 14.1 |
| 30 | -- | HFL3030 | 51 | 30 | 37 | 30 | 90 | 4500 | 4500 | 12.6 | 17.6 |
| 35 | -- | HFL3530 | 58 | 35 | 42 | 30 | 121 | 3900 | 3900 | 13 | 19.3 |
| type | Main dimension | ||||
| Fw | D | C | |||
| Torrington & NSK | |||||
| FC4K | 1 | 4 | 8 | 6 | 0.34 |
| FC6 | 3 | 6 | 10 | 12 | 1.76 |
| FC6K | 3 | 6 | 10 | 12 | 1.76 |
| FC8 | 4 | 8 | 14 | 12 | 5.3 |
| FCL8K | 3.5 | 8 | 12 | 12 | 5 |
| FC10 | 4.8 | 10 | 16 | 12 | 6 |
| FCL10K | 4 | 10 | 14 | 12 | 5.3 |
| FC12 | 11 | 12 | 18 | 16 | 12.2 |
| FC14K | 13 | 14 | 20 | 16 | 17.3 |
| FC16 | 14 | 16 | 22 | 16 | 20.5 |
| FC20 | 17 | 20 | 26 | 16 | 28.5 |
| FC25 | 30 | 25 | 32 | 20 | 66 |
| FC30 | 36 | 30 | 37 | 20 | 90 |
| FC35 | 40 | 35 | 42 | 20 | 121 |
| FCB8 | 10 | 14 | 14 | 20 | 5 |
| FCB10 | 15 | 16 | 16 | 20 | 10 |
| FCB12 | 18 | 18 | 18 | 26 | 12.2 |
| FCB16 | 22 | 22 | 22 | 26 | 20.5 |
| FCB20 | 27 | 26 | 26 | 26 | 28.5 |
| FCB25 | 44 | 32 | 32 | 30 | 66 |
| FCB30 | 51 | 37 | 37 | 30 | 90 |
| FCB35 | 58 | 42 | 42 | 30 | 121 |
| type | Main dimension | ||||
| Fw | D | C | |||
| Torrington & NSK | |||||
| RC040708 | 3.5 | 6.35 | 11.112 | 12.7 | 1.9 |
| RC040708-FS | 3.5 | 6.35 | 11.112 | 12.7 | 1.9 |
| RC061008 | 4.7 | 9.525 | 15.875 | 12.7 | 4.83 |
| RC061008-FC | 4.7 | 9.525 | 15.875 | 12.7 | 4.83 |
| RC081208 | 9.2 | 12.7 | 19.05 | 12.7 | 7.9 |
| RC081208-FS | 9.2 | 12.7 | 19.05 | 12.7 | 7.9 |
| RC101410 | 14.5 | 15.875 | 22.225 | 15.88 | 15.4 |
| RC101410-FC | 14.5 | 15.875 | 22.225 | 15.88 | 15.4 |
| RC121610 | 17 | 19.05 | 25.4 | 15.88 | 20.9 |
| RC121610-FS | 17 | 19.05 | 25.4 | 15.88 | 20.9 |
| RC162110 | 16.2 | 25.4 | 33.338 | 15.88 | 45 |
| RC162110-FC | 16.2 | 25.4 | 33.338 | 15.88 | 45 |
| RCB061014 | 12 | 9.525 | 15.875 | 22.22 | 4.83 |
| RCB061014-FS | 12 | 9.525 | 15.875 | 22.22 | 4.83 |
| RCB081214 | 16 | 12.7 | 19.05 | 22.22 | 7.9 |
| RCB081214-FC | 16 | 12.7 | 19.05 | 22.22 | 7.9 |
| RCB101416 | 21.3 | 15.875 | 22.225 | 25.4 | 15.4 |
| RCB101416-FS | 21.3 | 15.875 | 22.225 | 25.4 | 15.4 |
| RCB121616 | 26.5 | 19.05 | 25.4 | 25.4 | 20.9 |
| RCB121616-FC | 26.5 | 19.05 | 25.4 | 25.4 | 20.9 |
| RCB162117 | 44.8 | 25.4 | 33.338 | 26.99 | 45 |
| RCB162117-FS | 44.8 | 25.4 | 33.338 | 26.99 | 45 |
![]() |
| shaft dia. d | boundary dimensions | torque capacity | |||||
| Fw | D1 | D2 | B | A | |||
| mm | mm | N.m | Kg.cm | ||||
| 4 | 4 | 8 | 8.4 | 6 | 2.6 | 0.08 | 0.82 |
| 4 | 8 | 8.4 | 6 | 2.6 | 0.15 | 1.53 | |
| 6 | 6 | 10 | 10.4 | 8 | 2.8 | 0.25 | 2.55 |
| 6 | 10 | 10.4 | 8 | 2.8 | 0.44 | 4.49 | |
| 6 | 10 | 10.4 | 8 | 2.8 | 0.44 | 4.49 | |
| 6 | 10 | 10.4 | 12 | 2.8 | 0.88 | 8.98 | |
| 8 | 8 | 12 | 12.4 | 9 | 2.6 | 0.49 | 5 |
| 8 | 12 | 12.4 | 9 | 2.6 | 0.88 | 8.98 | |
| 8 | 14.2 | 15 | 12 | 3.6 | 1.18 | 12.04 | |
| 8 | 14.2 | 15 | 12 | 3.6 | 1.96 | 20 | |
| 8 | 14.2 | 15 | 12 | 3.6 | 1.96 | 20 | |
| 8 | 14.2 | 15 | 14.5 | 3.6 | 2.65 | 27.04 | |
| 10 | 10 | 16 | 17 | 10 | 5 | 1.18 | 12.04 |
| 10 | 16 | 17 | 10 | 5 | 1.96 | 20 | |
| 10 | 16 | 17 | 12 | 5 | 1.37 | 13.98 | |
| 10 | 16 | 17 | 12 | 5 | 2.35 | 23.98 | |
| 10 | 16 | 17 | 12 | 5 | 2.35 | 23.98 | |
| 12 | 12 | 18 | 19 | 16 | 5.1 | 6.28 | 64.08 |