![]() |
|
|
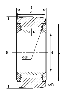
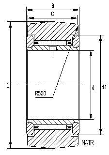
| 外径 Outside Diameter | 轴承型号与近似重量 Bearing Designation and mass approx | 外形尺寸 Borndary Dimensions | 基本额定负荷 Basic Load Rating | 极限转速 Limiting Speed | ||||||||||
| 不带密封 Without seal | 重量 Mass | 带密封 Sealed | 重量 Mass | d | D | B | C | d1 | 动 Cr Dynamic | 静 Cor Static | 作为支承滚轮 | 脂润滑 Grease | ||
| 动 Cw | 静 Cow | |||||||||||||
| mm | g | g | mm | N | rpm | |||||||||
| 16 | NATR 5 | 14 | NATR 5 PP | 14 | 5 | 16 | 12 | 11 | 12 | 3050 | 3000 | 2050 | 2400 | 22000 |
| NATV 5 | 15 | NATV 5 PP | 15 | 5 | 16 | 12 | 11 | 12 | 4500 | 6300 | 3680 | 4300 | 8500 | |
| 19 | NATR 6 | 20 | NATR 6 PP | 20 | 6 | 19 | 12 | 11 | 14 | 3600 | 3650 | 2450 | 2850 | 20000 |
| NATV 6 | 21 | NATV 6 PP | 21 | 6 | 19 | 12 | 11 | 14 | 5700 | 8700 | 4600 | 6750 | 7000 | |
| 24 | NATR 8 | 41 | NATR 8 PP | 41 | 8 | 24 | 15 | 14 | 19 | 4500 | 5400 | 3900 | 4500 | 5000 |
| NATV 8 | 42 | NATV 8 PP | 42 | 8 | 24 | 15 | 14 | 19 | 8600 | 12000 | 6700 | 9800 | 5500 | |
| 30 | NATR 10 | 64 | NATR 10 PP | 64 | 10 | 30 | 15 | 14 | 23 | 6100 | 7800 | 4500 | 6900 | 11000 |
| NATV 10 | 65 | NATV 10 PP | 65 | 10 | 30 | 15 | 14 | 23 | 10900 | 17000 | 7600 | 11800 | 4500 | |
| 32 | NATR 12 | 71 | NATR 12 PP | 71 | 12 | 32 | 15 | 14 | 25 | 6600 | 9800 | 4660 | 7000 | 9000 |
| NATV 12 | 72 | NATV 12 PP | 72 | 12 | 32 | 15 | 14 | 25 | 11800 | 19000 | 7800 | 13000 | 3900 | |
| 35 | NATR 15 | 103 | NATR 15 PP | 103 | 15 | 35 | 19 | 18 | 27 | 10500 | 17500 | 7800 | 11500 | 7000 |
| NATV 15 | 105 | NATV 15 PP | 105 | 15 | 35 | 19 | 18 | 27 | 16000 | 32500 | 10200 | 20500 | 3400 | |
| 40 | NATR 17 | 144 | NATR 17 PP | 144 | 17 | 40 | 21 | 20 | 32 | 11800 | 19400 | 9500 | 13500 | 6000 |
| NATV 17 | 152 | NATV 17 PP | 152 | 17 | 40 | 21 | 20 | 32 | 19600 | 37000 | 1200 | 23000 | 2900 | |
| 47 | NATR 20 | 246 | NATR 20 PP | 246 | 20 | 47 | 25 | 24 | 37 | 17500 | 29800 | 13500 | 22500 | 4900 |
| NATV 20 | 254 | NATV 20 PP | 254 | 20 | 47 | 25 | 24 | 37 | 25800 | 57000 | 19000 | 39500 | 2600 | |
| 52 | NATR 25 | 275 | NATR 25 PP | 275 | 25 | 52 | 25 | 24 | 42 | 19500 | 36500 | 13400 | 23500 | 3600 |
| NATV 25 | 285 | NATV 25 PP | 285 | 25 | 52 | 25 | 24 | 42 | 29000 | 69600 | 19800 | 40900 | 2100 | |
| 62 | NATR 30 | 470 | NATR 30 PP | 470 | 30 | 62 | 29 | 28 | 51 | 31000 | 57500 | 20900 | 35500 | 2600 |
| NATV 30 | 481 | NATV 30 PP | 481 | 30 | 62 | 29 | 28 | 51 | 45500 | 104000 | 27800 | 60900 | 1700 | |
| 72 | NATR 35 | 635 | NATR 35 PP | 635 | 35 | 72 | 29 | 28 | 58 | 34500 | 67500 | 22500 | 41000 | 2000 |
| NATV 35 | 647 | NATV 35 PP | 647 | 35 | 72 | 29 | 28 | 58 | 50800 | 109500 | 30900 | 70800 | 1400 | |
| 80 | NATR 40 | 805 | NATR 40 PP | 805 | 40 | 80 | 32 | 30 | 66 | 47000 | 91500 | 30900 | 56500 | 1700 |
| NATV 40 | 890 | NATV 40 PP | 890 | 40 | 80 | 32 | 30 | 66 | 64000 | 139000 | 39800 | 87800 | 1300 | |
| 85 | NATR 45 | 910 | NATR 45 PP | 910 | 45 | 85 | 32 | 30 | 72 | 49100 | 98000 | 30600 | 56900 | 1500 |
| 90 | NATR 50 | 960 | NATR 50 PP | 960 | 50 | 90 | 32 | 30 | 76 | 50500 | 10600 | 30600 | 57500 | 1300 |
| NATV 50 | 990 | NATV 50 PP | 990 | 50 | 90 | 32 | 30 | 76 | 69500 | 187000 | 38700 | 90900 | 1000 | |
![]() ![]() |
|||||||||||||||||||||||||||||||||||||||||||||||||||||||||||||||||||||||||||||||||||||||||||||||||||||||||||||||||||||||||||||||||||||||||||||||||||||||||||||||||||||||||||||||||||||||||||||||||||||||||||||||||||||||||||||||||||||||||||||||||||||||||||||||||||||||||||
|
|||||||||||||||||||||||||||||||||||||||||||||||||||||||||||||||||||||||||||||||||||||||||||||||||||||||||||||||||||||||||||||||||||||||||||||||||||||||||||||||||||||||||||||||||||||||||||||||||||||||||||||||||||||||||||||||||||||||||||||||||||||||||||||||||||||||||||
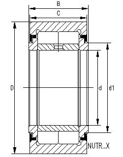
| 国外厂商 型号说明 | IKO | INA/SKF | Mc.GILL | NSK | ||
| 有保持架 With cage | 圆筒外轮 Cylindrical Roller Dia. | 无密封圈 UNSEALED | NART | NATR..X | MCYRR..X | FY, CJ |
| 带密封圈 SEALED | NART..UU | NATR..PPX | MCYRR..SX | FYCJS | ||
| 球面外轮 Crowned Roller Dia. | 无密封圈 UNSEALED | NART..R | NATR | MCYRR | FYCJ..R | |
| 带密封圈 SEALED | NART..UUR | NATR..PP | MCYRR..S | FYCJS..R | ||
| 无保持架 Without cage | 圆筒外轮 Cylindrical Roller Dia. | 无密封圈 UNSEALED | NART..V | NATV..X | MCYR..X | FYCR |
| 带密封圈 SEALED | NART..VUU | NATV..PPX | MCYR..SX | FYCRS | ||
| 球面外轮 Crowned Roller Dia. | 无密封圈 UNSEALED | NART..VR | NATV | MCYR | FYCR..R | |
| 带密封圈 SEALED | NART..VUUR | NATV..PP | MCYR..S | FYCRS..R | ||