![]() |
||||||||||||||||||
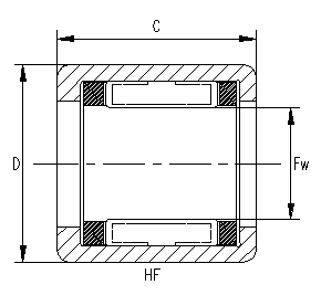
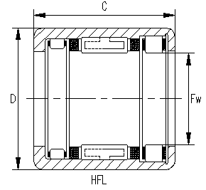
| CYJ--冲压外圈滚针离合器(单向轴承) 可作为转换器、止回装置、超越离合器。HF(滚针离合器):由冲压外圈和塑料保持架组成;保持架可以自带塑料簧片也可以上不锈钢簧片引导滚针,外圈上的斜面滚道和滚针作为锁紧装置。HFL(离合器和轴承组件):支承轴承装在滚针离合器的两侧并承受径向负荷,作为支承轴承的是滚针和塑料保持架组件。 主要结构形式:
|
||||||||||||||||||
|
| 轴径Shaft Diameter | 离合器型号 Clutch Designation | 重量 Mass 近似Approx | 外形尺寸 Borndary Dimensions |
转动力矩Torgue Ma | 极限转速 注1 Limiting Speed | 适用的冲压外圈滚针轴承 Suitable Drawn Cup Bearings | ||||
| 塑料弹簧 Plastic Springs | 不锈钢簧片 Steel Springs | Fw | D | C | 轴旋转 Rotating Shaft Min-1 | 外圈旋转 Rotatng Outer Ring Min-1 | ||||
| mm | g | mm | Nm | rpm | ||||||
| HF系列 ( INA/依纳公司 ) | ||||||||||
| 3 | HF0306KF | 0.9 | 3 | 6.5 | 6 | 0.2 | 36000 | 7000 | HK0306TN | |
| 4 | HF0406KF | -- | 1 | 4 | 8 | 6 | 0.34 | 34000 | 8000 | HK0408TN |
| HF0406KFR | -- | 1 | 4 | 8 | 6 | 0.1 | 34000 | 8000 | HK0408TN | |
| 6 | HF0608KF | 2.8 | 6 | 10 | 8 | 1.5 | 20000 | 11000 | HK0608 | |
| HF0612KF | HF0612 | 3 | 6 | 10 | 12 | 1.76 | 23000 | 13000 | HK0608 | |
| HF0612KFR | HF0612R | 3 | 6 | 10 | 12 | 1.76 | 23000 | 13000 | HK0608 | |
| HF061210 | 3.5 | 6 | 12 | 10 | 3 | 20000 | 13000 | HK061208 | ||
| 8 | HF0812KF | HF0812 | 3.5 | 8 | 12 | 12 | 3.15 | 17000 | 12000 | HK0808 |
| HF0812KFR | HF0812R | 3.5 | 8 | 12 | 12 | 4 | 17000 | 12000 | HK0808 | |
| -- | HF061210 | 3.2 | 8 | 12 | 10 | 3 | 16000 | 12000 | HK0808 | |
| -- | HF081410 | 3.6 | 8 | 14 | 10 | 4.6 | 15000 | 11000 | HK081410 | |
| -- | HF081610 | 4.1 | 8 | 16 | 10 | 5.5 | 15000 | 11000 | HK081610 | |
| -- | HF081412 | 4 | 8 | 14 | 12 | 5 | 16000 | 12000 | HK081410 | |
| 10 | HF1012KF | HF1012 | 4 | 10 | 14 | 12 | 5.3 | 14000 | 11000 | HK1010 |
| HF1012KFR | HF1012R | 4 | 10 | 14 | 12 | 1.5 | 14000 | 11000 | HK1010 | |
| 12 | -- | HF1216 | 11 | 12 | 18 | 16 | 12.2 | 11000 | 8000 | HK1212 |
| 14 | -- | HF1416 | 13 | 14 | 20 | 16 | 17.3 | 9500 | 8000 | HK1412 |
| 16 | -- | HF1616 | 14 | 16 | 22 | 16 | 20.5 | 8500 | 7500 | HK1612 |
| 18 | -- | HF1816 | 16 | 18 | 24 | 16 | 24.1 | 7500 | 7500 | HK1812 |
| 20 | -- | HF2016 | 17 | 20 | 26 | 16 | 28.5 | 7000 | 6500 | HK2010 |
| 25 | -- | HF2520 | 30 | 25 | 32 | 20 | 66 | 5500 | 5500 | HK2512 |
| 30 | -- | HF3020 | 36 | 30 | 37 | 20 | 90 | 4500 | 4500 | HK3012 |
| 35 | -- | HF3520 | 40 | 35 | 42 | 20 | 121 | 3900 | 3900 | HK3512 |
| 轴径Shaft Diameter | 离合器型号 Clutch Designation | 重量 Mass 近似Approx | 外形尺寸 Borndary Dimensions | 转动力矩Torgue Ma | 极限转速 注1 Limiting Speed | 基本额定负荷 Basic Load Ratings | |||||
| 塑料弹簧 Plastic Springs | 不锈钢簧片 Steel Springs | Fw | D | C | 轴旋转 Rotating Shaft Min-1 | 外圈旋转 Rotatng Outer Ring Min-1 | C | Co | |||
| KN | |||||||||||
| mm | g | mm | Nm | rpm | |||||||
| HFL系列 ( INA/依纳公司 ) | |||||||||||
| 3 | HFL0308 | -- | 3 | 3 | 3.6 | 8 | 1 | -- | -- | -- | -- |
| 4 | HFL0408 | -- | 3.5 | 4 | 8 | 8 | 1.5 | -- | -- | -- | -- |
| 6 | HFL0615KF | HFK0615 | 4 | 6 | 10 | 15 | 1.76 | 23000 | 13000 | -- | -- |
| HFL0615KFR | HFL0615R | 4 | 6 | 10 | 15 | 0.5 | 23000 | 13000 | -- | -- | |
| -- | HFL061012K | 5 | 6 | 10 | 12 | -- | 21000 | 12000 | -- | -- | |
| 8 | -- | HFL081212K | 6 | 8 | 12 | 12 | -- | 20000 | 12000 | -- | -- |
| -- | HFL081412K | 7 | 8 | 14 | 12 | -- | 19000 | 12000 | -- | -- | |
| HFL0822KF | HFL0822 | 7 | 8 | 12 | 22 | 3.15 | 17000 | 12000 | 4.05 | 4.15 | |
| HFL0822KFR | HFL0822R | 7 | 8 | 12 | 22 | 1 | 17000 | 12000 | -- | -- | |
| 10 | HFL1022KF | HFL1022 | 8 | 10 | 14 | 22 | 5.3 | 14000 | 11000 | 4.3 | 4.65 |
| HFL1022KFR | HFL1022R | 8 | 10 | 14 | 22 | 1.5 | 14000 | 11000 | -- | -- | |
| 12 | -- | HFL1226 | 18 | 12 | 18 | 26 | 12.2 | 11000 | 8000 | 6.3 | 6.5 |
| 14 | -- | HFL1426 | 20 | 14 | 20 | 26 | 17.3 | 9500 | 8000 | 7.1 | 7.7 |
| 16 | -- | HFL1626 | 22 | 16 | 22 | 26 | 20.5 | 8500 | 7500 | 7.7 | 9 |
| 18 | -- | HFL1826 | 25 | 18 | 24 | 26 | 24.1 | 7500 | 7500 | 8.3 | 10.3 |
| 20 | -- | HFL2026 | 27 | 20 | 26 | 26 | 28.5 | 7000 | 6500 | 8.9 | 11.5 |
| 25 | -- | HFL2530 | 44 | 25 | 32 | 30 | 66 | 5500 | 5500 | 10.9 | 14.1 |
| 30 | -- | HFL3030 | 51 | 30 | 37 | 30 | 90 | 4500 | 4500 | 12.6 | 17.6 |
| 35 | -- | HFL3530 | 58 | 35 | 42 | 30 | 121 | 3900 | 3900 | 13 | 19.3 |
| 型号 | 重量 | 主要尺寸 | |||
| Fw | D | C | 转动力矩 | ||
| Torrington/托林顿公司 & NSK/精工 | |||||
| FC4K | 1 | 4 | 8 | 6 | 0.34 |
| FC6 | 3 | 6 | 10 | 12 | 1.76 |
| FC6K | 3 | 6 | 10 | 12 | 1.76 |
| FC8 | 4 | 8 | 14 | 12 | 5.3 |
| FCL8K | 3.5 | 8 | 12 | 12 | 5 |
| FC10 | 4.8 | 10 | 16 | 12 | 6 |
| FCL10K | 4 | 10 | 14 | 12 | 5.3 |
| FC12 | 11 | 12 | 18 | 16 | 12.2 |
| FC14K | 13 | 14 | 20 | 16 | 17.3 |
| FC16 | 14 | 16 | 22 | 16 | 20.5 |
| FC20 | 17 | 20 | 26 | 16 | 28.5 |
| FC25 | 30 | 25 | 32 | 20 | 66 |
| FC30 | 36 | 30 | 37 | 20 | 90 |
| FC35 | 40 | 35 | 42 | 20 | 121 |
| FCB8 | 10 | 14 | 14 | 20 | 5 |
| FCB10 | 15 | 16 | 16 | 20 | 10 |
| FCB12 | 18 | 18 | 18 | 26 | 12.2 |
| FCB16 | 22 | 22 | 22 | 26 | 20.5 |
| FCB20 | 27 | 26 | 26 | 26 | 28.5 |
| FCB25 | 44 | 32 | 32 | 30 | 66 |
| FCB30 | 51 | 37 | 37 | 30 | 90 |
| FCB35 | 58 | 42 | 42 | 30 | 121 |
| 型号 | 重量 | 主要尺寸 | |||
| Fw | D | C | 转动力矩 | ||
| Torrington/托林顿公司 & NSK/精工 | |||||
| RC040708 | 3.5 | 6.35 | 11.112 | 12.7 | 1.9 |
| RC040708-FS | 3.5 | 6.35 | 11.112 | 12.7 | 1.9 |
| RC061008 | 4.7 | 9.525 | 15.875 | 12.7 | 4.83 |
| RC061008-FC | 4.7 | 9.525 | 15.875 | 12.7 | 4.83 |
| RC081208 | 9.2 | 12.7 | 19.05 | 12.7 | 7.9 |
| RC081208-FS | 9.2 | 12.7 | 19.05 | 12.7 | 7.9 |
| RC101410 | 14.5 | 15.875 | 22.225 | 15.88 | 15.4 |
| RC101410-FC | 14.5 | 15.875 | 22.225 | 15.88 | 15.4 |
| RC121610 | 17 | 19.05 | 25.4 | 15.88 | 20.9 |
| RC121610-FS | 17 | 19.05 | 25.4 | 15.88 | 20.9 |
| RC162110 | 16.2 | 25.4 | 33.338 | 15.88 | 45 |
| RC162110-FC | 16.2 | 25.4 | 33.338 | 15.88 | 45 |
| RCB061014 | 12 | 9.525 | 15.875 | 22.22 | 4.83 |
| RCB061014-FS | 12 | 9.525 | 15.875 | 22.22 | 4.83 |
| RCB081214 | 16 | 12.7 | 19.05 | 22.22 | 7.9 |
| RCB081214-FC | 16 | 12.7 | 19.05 | 22.22 | 7.9 |
| RCB101416 | 21.3 | 15.875 | 22.225 | 25.4 | 15.4 |
| RCB101416-FS | 21.3 | 15.875 | 22.225 | 25.4 | 15.4 |
| RCB121616 | 26.5 | 19.05 | 25.4 | 25.4 | 20.9 |
| RCB121616-FC | 26.5 | 19.05 | 25.4 | 25.4 | 20.9 |
| RCB162117 | 44.8 | 25.4 | 33.338 | 26.99 | 45 |
| RCB162117-FS | 44.8 | 25.4 | 33.338 | 26.99 | 45 |
![]() |
| 轴径 shaft dia. d | 外型尺寸boundary dimensions | 传动力矩 torque capacity | |||||
| Fw | D1 | D2 | B | A | |||
| mm | mm | N.m (牛顿.米) | Kg.cm(公斤.厘米) | ||||
| 4 | 4 | 8 | 8.4 | 6 | 2.6 | 0.08 | 0.82 |
| 4 | 8 | 8.4 | 6 | 2.6 | 0.15 | 1.53 | |
| 6 | 6 | 10 | 10.4 | 8 | 2.8 | 0.25 | 2.55 |
| 6 | 10 | 10.4 | 8 | 2.8 | 0.44 | 4.49 | |
| 6 | 10 | 10.4 | 8 | 2.8 | 0.44 | 4.49 | |
| 6 | 10 | 10.4 | 12 | 2.8 | 0.88 | 8.98 | |
| 8 | 8 | 12 | 12.4 | 9 | 2.6 | 0.49 | 5 |
| 8 | 12 | 12.4 | 9 | 2.6 | 0.88 | 8.98 | |
| 8 | 14.2 | 15 | 12 | 3.6 | 1.18 | 12.04 | |
| 8 | 14.2 | 15 | 12 | 3.6 | 1.96 | 20 | |
| 8 | 14.2 | 15 | 12 | 3.6 | 1.96 | 20 | |
| 8 | 14.2 | 15 | 14.5 | 3.6 | 2.65 | 27.04 | |
| 10 | 10 | 16 | 17 | 10 | 5 | 1.18 | 12.04 |
| 10 | 16 | 17 | 10 | 5 | 1.96 | 20 | |
| 10 | 16 | 17 | 12 | 5 | 1.37 | 13.98 | |
| 10 | 16 | 17 | 12 | 5 | 2.35 | 23.98 | |
| 10 | 16 | 17 | 12 | 5 | 2.35 | 23.98 | |
| 12 | 12 | 18 | 19 | 16 | 5.1 | 6.28 | 64.08 |